PVDF H41F-10F verticale terugslagklep DN15-300 1/2"-12" ANSI standaard

Witte PVDF-balterugslagklep Aangepaste kunststof PVDF hydraulische verticale terugslagklep met lange werking voor ANSI-standaard van de waterbehandelingsindustrie
Herkomst: China
Merk: KXPV
Model: H41F-10F
Toepassing: Algemeen
Materiaal: kunststof
Kleur: Wit
Gemiddelde temperatuur: Gemiddelde, omgevingstemperatuur
Druk: gemiddelde druk
Voeding: handmatig
Medium: Zuur
Poortgrootte: DN15–DN300
Structuur: terugslagklep
Productnaam: Verticale terugslagklep
Aansluiting: geflensd uiteinde
Drukklasse: 1,0 MPa (10 bar)
Bediening: Handwiel
Lichaamsmateriaal: kunststof
Levertijd: 7 dagen

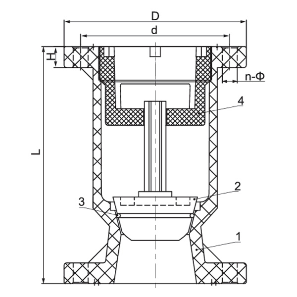
Structuurkenmerken van producten

1. Corrosie duurzaam
De klep is gemaakt van nieuwe plastic materialen en biedt een sterke corrosieweerstand tegen verschillende zure en alkalische media.
2. Grote stroomcapaciteit
De klep is ontworpen met een voldoende structuur die de weerstand van de pijpleiding verminderd, waardoor het medium soepel kan stromen en het drukverlies wordt beperkt terwijl de stroming wordt gewaarborgd.
3. Controleer de klepfunctionaliteit
Met een eenvoudige structuur en minimale invloeden van buitenaf biedt het een uitstekende terugstroompreventie.
4. Compact en lichtgewicht
De klep heeft een klein en compact ontwerp, waardoor hij ideaal is voor installatie in krappe ruimtes

App-temperatuurgebonden lijst

Materiaal Middelmatige temperatuur℃ Materiaal Middelmatige temperatuur℃
PVC-C -20℃~ 95℃ PVC-U -5℃ ~ 45℃
FRPP -20℃~ 120℃ PPH -20℃~ 110℃
PVDF 40℃~ 150℃

Onderdeelmateriaaltabel
Nee. Naam Materiaal Aantal
PVC-C PVC-U PVDF PPH FRPP
1 Lichaam PVC-C PVDF PPH FRPP 1
2 Bal kern PVC-C PVDF-C PVC-C 1
3 Afdichtingsrubber FPM 1
4 Afdichtende zitting PVC-C PVC-U PVDF PPH FRPP 1

Afmetingenlijst

Specificatie d(mm) D(mm) L(mm) b(mm) n-Φ(mm)
2"(50) 121 160 185 22 4-Φ19
4"(100) 191 215 285 25 8-Φ19
5"(125) 216 245 357 31 8-Φ22
6"(150) 241 280 410 30 8-Φ23
8"(200) 299 335 400 35 8-Φ23
10"(250) 362 406 450 38 12-Φ25

Berichtfeedback
Over ons
Kaixin Pipeline Technologies Co., Ltd.
Opgericht in 1999, Kaixin Pipeline Technologies Co., Ltd. is een hightech onderneming die R&D, productie, verkoop en service integreert. Het bedrijf beschikt over meerdere prestigieuze certificeringen, waaronder National High-Tech Enterprise, “Little Giant” Specialized and Sophisticated SME, National Single Product Champion (Cultivation), Provincial Technology-based SME, Ningbo Specialized and Sophisticated SME, Ningbo Single Product Champion (Cultivation), Ningbo Polymer Pipe & Valve Technology R&D Center, District-Level Green Factory, Ningbo Four-Star Management Innovation Enterprise en Enterprise Data Management Capability Maturity Level 2.
Wij zijn gespecialiseerd in het ontwikkelen, produceren en leveren van niet-metalen corrosiebestendige producten voor chemische toepassingen, waaronder kunststof kleppen, buizen, buisfittingen en corrosiebestendige pompen. Ons productportfolio omvat materialen zoals PVC-C, PVC-U, PVDF, PPH en FRPP, met een uitgebreid scala aan typen en specificaties. Met name onze vlinderkleppen kunnen een diameter van DN1000 bereiken, terwijl buizen en fittingen zich uitstrekken tot DN800, waardoor gaten in de markt worden gedicht en onze concurrentiepositie in de industrie behouden blijft.
Geleid door het principe van ‘Technologiegedreven, gelijke tred houden met de tijd’, wijst Kaixin jaarlijks bijna RMB 10 miljoen toe aan R&D. Wij garanderen een superieure productkwaliteit door middel van gestandaardiseerde geautomatiseerde productie en strikte inkoop van geïmporteerde grondstoffen. In lijn met onze internationale ontwikkelingsstrategie houden we voortdurend de mondiale markttrends in de gaten en maken we gebruik van digitale kanalen om klanten over de hele wereld hoogwaardige ‘Made in China’-producten te bieden.
Ningbo • Fenghua R&D- en productiebasis
Met een totale investering van RMB 200 miljoen heeft Kaixin Ultra-Pure Pipe Technology (Ningbo) Co., Ltd. in samenwerking met universiteiten en onderzoeksinstituten een nieuw materialenlaboratorium opgezet, een moderne productiebasis gebouwd en 8 volledig geautomatiseerde productielijnen geïnstalleerd voor gemodificeerde kunststoffen en 8 voor polymere materialen. De faciliteit is gewijd aan de R&D, productie en toepassing van nieuwe gemodificeerde kunststoffen en polymeermaterialen. Kaixin zet zich ook in voor het aantrekken van toptalent uit verschillende disciplines, waarbij productinnovatie en merkontwikkeling voortdurend worden gestimuleerd, met als doel een wereldwijd erkende leider te worden in de R&D en productie van polymeerkleppen, buizen en fittingen.
Certificaat van eer
  • honor
  • honor
  • honor
  • honor
  • honor
  • honor
  • honor
  • honor
  • honor
Nieuws