App-temperatuurgebonden lijst

Materiaal Middelmatige temperatuur℃ Materiaal Middelmatige temperatuur℃
PVC-C -20℃~ 95℃ PVC-U -5℃ ~ 45℃
FRPP -20℃~ 120℃ PPH -20℃~ 110℃
PVDF 40℃~ 150℃

Structuurkenmerken van producten

1. Het afdichtingsmembraan is gemaakt van F46 of PFA, met een vouwduur van ≥ 120.000 keer en corrosiebestendigheid vergelijkbaar met F4.
2. Het hefmechanisme van het schroeftype zorgt voor een laag openings- en sluitmoment en uitstekende stabiliteit.
3. De actuator kan op afstand worden bestuurd via een computer van het controlecentrum, waarbij de stroom en doorstroming van het medium wordt geregeld door de klep te openen en te sluiten. Dit zorgt voor meer gemak en snelheid, functionele arbeidskosten en essentiële veiligheid van de werknemers op locatie.

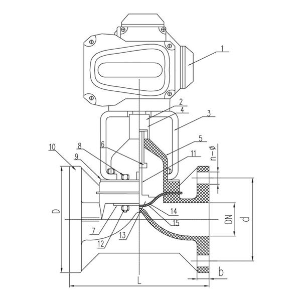
Onderdeelmateriaaltabel

Nee. Naam Materiaal Aantal
1 Elektrische aandrijving Aluminiumlegering 1
2 Drijfstang Staal 2
3 Elektrische/pneumatische actuatorbeugel Ijzer 1
4 Verbindingspin Staal 1
5 Motorkap PPH, PVC-C, PVC-U, PVDF, FRPP 1
6 Juk Noot RVS staal、 Koper 1
7 Platen Q345, RVS staal 2
8 Schroef Staal, roestvrij staal 4
9 Platen Q345, RVS staal 2
10 Lichaam PPH, PVC-C, PVC-U, PVDF, FRPP 1
11 Stam Staal, roestvrij staal 1
12 Moer dop Staal, roestvrij staal 4
13 Ventielplaat PPH,PVC-C,PVC-U
FRPP, PVDF/gietijzer
1
14 Flim EPDM,FPM 1
15 Diafragma F46.PFA.PTFE 1

Afmetingenlijst
Specificatie D d L b n-Φ
15 95 65 125 14 4-Φ14
20 105 75 135 18 4-Φ14
25 115 85 145 18 4-Φ14
32 135 100 160 18 4-Φ18
40 145 110 180 20 4-Φ18
50 160 125 210 22 4-Φ18
65 180 145 250 24 4-Φ18
80 195 160 300 24 8-Φ18
100 225 180 350 28 8-Φ18
125 245 210 400 30 8-18
150 280 240 455 30 8-Φ23x27
200 335 295 570 40 8-Φ22
250 390 350 680 38 12-Φ23
300 445 400 680 38 12-Φ23
Berichtfeedback
Over ons
Kaixin Pipeline Technologies Co., Ltd.
Opgericht in 1999, Kaixin Pipeline Technologies Co., Ltd. is een hightech onderneming die R&D, productie, verkoop en service integreert. Het bedrijf beschikt over meerdere prestigieuze certificeringen, waaronder National High-Tech Enterprise, “Little Giant” Specialized and Sophisticated SME, National Single Product Champion (Cultivation), Provincial Technology-based SME, Ningbo Specialized and Sophisticated SME, Ningbo Single Product Champion (Cultivation), Ningbo Polymer Pipe & Valve Technology R&D Center, District-Level Green Factory, Ningbo Four-Star Management Innovation Enterprise en Enterprise Data Management Capability Maturity Level 2.
Wij zijn gespecialiseerd in het ontwikkelen, produceren en leveren van niet-metalen corrosiebestendige producten voor chemische toepassingen, waaronder kunststof kleppen, buizen, buisfittingen en corrosiebestendige pompen. Ons productportfolio omvat materialen zoals PVC-C, PVC-U, PVDF, PPH en FRPP, met een uitgebreid scala aan typen en specificaties. Met name onze vlinderkleppen kunnen een diameter van DN1000 bereiken, terwijl buizen en fittingen zich uitstrekken tot DN800, waardoor gaten in de markt worden gedicht en onze concurrentiepositie in de industrie behouden blijft.
Geleid door het principe van ‘Technologiegedreven, gelijke tred houden met de tijd’, wijst Kaixin jaarlijks bijna RMB 10 miljoen toe aan R&D. Wij garanderen een superieure productkwaliteit door middel van gestandaardiseerde geautomatiseerde productie en strikte inkoop van geïmporteerde grondstoffen. In lijn met onze internationale ontwikkelingsstrategie houden we voortdurend de mondiale markttrends in de gaten en maken we gebruik van digitale kanalen om klanten over de hele wereld hoogwaardige ‘Made in China’-producten te bieden.
Ningbo • Fenghua R&D- en productiebasis
Met een totale investering van RMB 200 miljoen heeft Kaixin Ultra-Pure Pipe Technology (Ningbo) Co., Ltd. in samenwerking met universiteiten en onderzoeksinstituten een nieuw materialenlaboratorium opgezet, een moderne productiebasis gebouwd en 8 volledig geautomatiseerde productielijnen geïnstalleerd voor gemodificeerde kunststoffen en 8 voor polymere materialen. De faciliteit is gewijd aan de R&D, productie en toepassing van nieuwe gemodificeerde kunststoffen en polymeermaterialen. Kaixin zet zich ook in voor het aantrekken van toptalent uit verschillende disciplines, waarbij productinnovatie en merkontwikkeling voortdurend worden gestimuleerd, met als doel een wereldwijd erkende leider te worden in de R&D en productie van polymeerkleppen, buizen en fittingen.
Certificaat van eer
  • honor
  • honor
  • honor
  • honor
  • honor
  • honor
  • honor
  • honor
  • honor
Nieuws